星空体育app下载入口 一种自行车车架生产用喷漆装置的制作方法

1。该公用事业模型涉及框架喷涂技术的领域,该领域是一种用于自行车框架生产的喷漆装置。
背景技术:
2。在自行车框架的生产和加工中,为了确保框架的美学和锈蚀,框架的表面通常喷在框架表面上。将应用于涂层表面的均匀且轻微的雾化,可以分为空气喷涂的各种导数方法,没有空气喷涂,静电喷涂和上述基本喷雾形式。这是当今最常见的应用程序。一种绘画方法。
3。当现有的喷涂处理设备在自行车架上喷涂时,首先需要喷涂的大多数自行车框架都固定在可旋转的支架上,然后由外部电动机驱动框架以旋转框架以旋转框架以旋转它要为此旋转框架以将其旋转为此,以将其旋转为此,以便将其旋转为此。框架将其旋转到该顺序以旋转框架以使其旋转到该顺序以旋转框架以使框架旋转框架以将其旋转到该顺序以旋转框架以将其旋转到该顺序以旋转该顺序以旋转框架以确保在框架表面上喷涂的均匀性。但是,当喷洒框架的表面时,喷漆通常连接到自行车框架的固定支架上,并将大量油漆涂在支架和轴上。框架的固定和旋转会影响框架的喷雾质量。
技术实施元素:
4。该公用事业模型的目的是为自行车框架生产提供喷漆设备,以解决上述背景技术中提出的问题。
5。为了实现上述目标,以下实际新模型提供了以下技术解决方案:
6。用于生产自行车架的喷漆装置,包括支撑板和用于在支撑板上喷涂的喷漆机构。两个侧面面板具有非常对称的侧面,侧板的底部用滑块固定,滑块匹配滑块。在支撑板板的顶部,幻灯片的内部旋转连接到螺钉,该螺钉通过支撑板的支撑,滑块和延伸到外部的螺钉,在螺钉的外墙上,然后两个侧面面板的内侧具有框架剪刀。板的一端固定在侧板内。连接到电动机,右侧的滚轴穿过侧面板,并固定在电动机的输出端。侧板的内侧位于框架固定板的外部周围。保护缸穿过侧板并滑动侧板。保护缸的外壁位于侧板的末端。侧板的内部和保护缸的内部通过侧板的弹性连接连接星空综合体育app下载,这对应于保护缸内壁上的架子。旋转轴贯穿了晦涩的膜。两个侧板的内侧位于保护缸下方的有限板。外部的顶部和极限板的顶部位于两个框架夹具之间,固定帧的固定腔,这些框架连接到外部电源的电气连接。
7。作为一种实心的进一步进一步解决方案:滑块通过螺钉的协调打开螺纹凹槽,通过螺纹凹槽的滑块传输在螺丝杆的外壁上传输。
8。作为新型实用模型的解决方案:侧板用带有保护缸的凹槽打开,该凹槽通过侧板穿过凹槽穿过凹槽,并在凹槽的凹槽上滑动。内部的。
9。作为新模型的进一步解决方案:防护缸的内部开口带有一个空腔,固定板保持板固定板。董事会的外部。
10。作为实心新模型和进一步的解决方案:框架夹板板和保护缸位于同一中央轴上。
11。作为一个实用模型的进一步解决方案:保护缸与侧板顶部之间的距离与保护缸与极限板之间的距离相同。
12。作为新的新型新型号的解决方案:侧板在侧板上打开,并与极限板连接,该板通过插座通过侧板延伸,卡片被卡在两个上的两个上。在侧板内。
13。与现有技术相比,有用的新型有用效应是:
14。实用的新中部到侧板的内侧位于框架克利普兰的外部周围。保护缸通过弹簧和侧板的弹性连接连接。限制木板,然后扭动螺丝杆以驱动两个侧板将其驱动到中间移动的侧板,以便在两个侧板的内部固定板块靠近框架的两端,以完成夹具可以固定框架的框架,该框架可以根据框架的大小来调节固定腔的大小,并且可以固定在不同型号的框架上。此外,将框架放置在有限的板上,以避免框架的框架。持有固定时间工作人员的情况一直在持有框架星空·综合体育官网入口,从而降低了员工的劳动力强度。在握住框架夹紧时,在弹簧向侧板外部的作用下延伸了框架三明治外部的保护缸星空体育app官方下载,靠近框架的外壁。可以保护保护缸以保护腔中的轴和框架三明治板。框架支架架的夹紧力减小到框架的框架,并发生了旋转轴的旋转,从而改善了设备的使用效果并具有很强的实用性。
附件描述
15。图1显示了用于自行车架的喷漆装置的结构图;
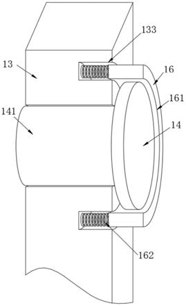
16。图2显示了用于自行车架的喷漆装置中保护缸,框架支架和侧板的示意图;
17。图3显示了图2的截面结构的图;
18。
19。
20。在图中:1。分支; 11.滑; 12,螺丝; 13,侧板; 131,滑块; 132,螺纹凹槽; 133,凹槽; 134,插座; 14,框架剪裁板; 141,转轴; 15,电动机; 16,保护缸; 161,空腔; 162,春天; 163,封面电影; 17。董事会限制; 171,固定腔; 2。喷漆机构。
特定实施方法
21. 请参阅图1~5,本实用新型实施例中1的顶部可与Skid 11一起使用,支撑板板1的顶部配备了相对对称的两个侧板13,侧板13的底部用滑块131固定,滑块131与幻灯片匹配11,侧板是。 13在分支板1的顶部滑动131和滑动11的组合,幻灯片11的内部旋转连接到螺钉12,螺钉12穿过分支板1。1外部,然后滑动131在螺钉外驾驶12
在墙壁上,两个侧面板的内侧配备了框架底板14,框架固定板14的外墙旋转连接与旋转轴141连接,旋转轴141远离距框架固定板14。在内部,框架夹板14通过旋转轴141旋转在侧板13的内侧。右侧侧板13的外壁和位置141与旋转轴相对应141有电动机15。13固定在电动机15的输出端。侧板的内侧13位于框架三明治14的外部,带有保护缸16。外墙位于内部侧板13的固定在162弹簧上,弹簧162从保护缸16的末端固定在侧板13的内部,并且保护缸16连接到侧板13到弹簧162,保护缸的内壁16上相应的框架夹板14和侧板13具有盖膜163,轴141在晦涩的胶片163中运行,两侧板的内侧13位于在保护缸16的下方。有限的板17穿过两个侧板13,并延伸至侧板13的外部,限制板17的顶部位于两个框架三明治14之间,固定框架为固定框架171。 15与外部电源的电气连接。
22。在图1,图2,图3和图4中:固定框架时,工作人员首先将框架放在限制板17上,然后扭动螺钉12以驱动螺纹插槽132以驱动螺纹插槽132中螺丝槽132中螺丝槽132中螺丝槽132中螺钉插槽132中的变速器中的变速器中的变速器132的变速器中的变速器中的变速器132的变速器中的变速器132在螺丝槽132中的变速器中的变速器132中的变速器中的变速器132在螺丝槽132中的变速器中在螺钉插槽132中的螺钉插槽132中,在螺钉插槽132中的变速箱中的变速器中的螺丝槽132中的螺丝槽132中的变速器中的变速器132在变速箱中的螺丝槽132中的变速器中。它上方的两个滑块131在幻灯片11中滑动,然后将两个侧板13驱动到中间偏移,这可以使框架保持板固定板固定板14在两个侧板的内部13的内部靠近两个框架。框架的框架。为了完成框架的夹紧固定,可以根据框架的尺寸调整固定腔171的尺寸。模型YL
苍凉
7112)工作驱动旋转轴141固定在输出端的旋转旋转,并驱动框架141上的框架支架14旋转,从而在喷涂时驱动框架,提高框架表面上的喷雾质量以及框架固定框架夹紧夹板的夹板14,而框架周围的外部保护缸包围的保护缸则夹紧插槽133的外壁靠近框架的外壁,而盖膜163由内壁设置在保护缸16中,可以使保护缸16存储轴141和框架支架14在空腔161中。避免喷洒旋转轴141的表面,从而导致旋转轴141的旋转干扰。根据框架的框架替换了平面固定结构,设备的使用效果得到了改善,实用性很强。
23。在图1和5中:固定框架后,工作人员首先将框架放在限制板17上,然后修复框架以避免在框架剪辑上持有固定时间的工作人员。持有框架的情况已经出现,从而降低了员工的劳动力。此外,在喷洒框架时,工作人员从插座134中取出限制板17,这不会让有限的板17旋转框架17帧的框架。引起干扰和实用性。
24.新型新型新型的原理是:固定框架时,工作人员首先将框架放在限制板17上,然后扭动螺钉12,以将其在螺纹凹槽上驱动其上的两个幻灯片132 。框架的夹紧是固定的,可以根据框架的大小来调节固定腔171的大小。可以修复不同模型的框架。喷涂框架的表面时,电动机15(模型为yl yl为yl
苍凉
7112)工作驱动旋转轴141固定在输出端的旋转旋转,并驱动框架141上的框架支架14旋转,从而在喷涂时驱动框架,提高框架表面上的喷雾质量,并将其驱动固定框架夹紧时夹紧板14,而框架周围的外部保护缸则包围着插槽133的外部的保护缸,靠近框架的外壁。可以在腔161中保护保护缸16,以保护跨度141和框架架14。 141的表面导致框架14框架14的夹紧力减少,旋转轴的旋转141。
设备的使用效果很高,实用性很强。
25。上面提到的特定实现方法只是一种更好的实施方法,但是对实用程序模型的保护范围不限于此。任何熟悉该技术领域技术领域的技术人员都将在真正的新模型的技术范围内。基于有用的新技术解决方案及其实用的新概念,应更换或更改它们,所有这些概念都应在公用事业模型保护范围内涵盖。
鲁ICP备18019460号-4
我要评论