星空·体育中国官方网 一位老师傅多年珍藏的汽车部件动态图,车主永久收藏的好东西
我从事汽车行业20多年,一直在研究维修保养。我非常熟悉汽车的工作原理。这些是我多年来收集的一些汽车零部件工作的最新动态。图片,希望可以帮助到广大汽车爱好者。
发动机如何工作

汽油机:空气和汽油按一定比例混合,形成良好的混合气。在吸气冲程期间,混合物被吸入气缸。混合物被压缩、点燃并燃烧以产生热能。然而,高温高压气体作用在活塞顶部,推动活塞做往复直线运动,然后通过连杆和曲轴飞轮机构将机械能输出到外部。四冲程汽油机在进气冲程、压缩冲程、做功冲程和排气冲程中完成一个工作循环。

离合器

很多人都知道踩离合、换挡,但不知道离合在哪里。离合器位于发动机和变速箱之间的飞轮壳内。离合器总成用螺钉固定在飞轮后平面上。离合器的输出轴是变速箱的输入轴!
汽车行驶时,驾驶员可以根据需要踩下或松开离合器踏板,可以暂时分离和逐渐连接发动机和变速箱,用于切断或传递从发动机输入到变速箱的动力。离合器是变速器中常见的机械部件,可以随时分离或接合传动系统。

手动变速箱

手动变速箱也称为手动变速箱(简称MT),另一个名称是机械变速箱。也就是说,必须用手移动变速杆(变速手柄)来改变变速器中齿轮的啮合位置,从而更换变速器。比,改变速度的目的来自于中道。
结构比较简单,性能可靠,制造和维护成本比较低,传动效率高,理论上更省油。另外,由于是纯机械控制,换挡响应更快,可能更直接地体现驾驶员的意愿。与自动变速箱相比,操作起来比较麻烦,而且换挡时顿挫感的明显缺点也是无法弥补的。

微分
差速器主要是使左、右或前后驱动器以不同速度旋转的机构;主要由左右侧齿轮、两个行星齿轮和齿轮架组成;它的功能是检测汽车何时转弯或在不平坦的表面上行驶。 ,促使左右轮以不同的速度滚动,保证两侧驱动轮的纯滚动运动,并安装调节左右轮的速度差。

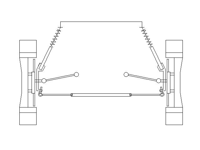
汽车悬架
悬架是指车身与轮胎之间由弹簧和减震器组成的整个支撑系统;它的作用是支撑身体,改善乘坐感觉。不同的悬架设置会给驾驶员带来不同的驾驶体验;从外观上看,一个很简单的悬架实际上综合了多种力量,决定了汽车的稳定性、舒适性和安全性。

悬架系统是车架与车轴或轮胎之间所有传递力的连接装置的全称。它的作用是传递车轮与车架之间的力和扭矩,缓冲不平路面传递到车身或车架的冲击力。 ,减少由此产生的振动星空体育app官方下载,保证汽车能够平稳行驶。典型的悬架系统结构由弹性元件、导向机构和减震器组成。有些部位有缓冲块、横向稳定杆等;弹性元件还有板簧、空气弹簧、螺旋弹簧、扭杆弹簧等。

发动机工作动画

发动机分为活塞发动机、冲压发动机、火箭发动机、涡轮发动机。
工作过程:进气-压缩-喷油-燃烧-膨胀做功-排气。
进气行程:进入气缸的工作流体为纯净空气。由于柴油机进气系统阻力较小,因此进气端压力pa=(0.85~0.95)p0比汽油机高。进气端温度Ta=300~340K,低于汽油机。
压缩冲程:由于被压缩的工作流体是纯空气,因此柴油机的压缩比比汽油机高(一般ε=16~22)。压缩终了压力为3 000~5 000kPa,压缩终了温度为750~1 000K,大大超过柴油的自燃温度(约520K)。
做功冲程:当压缩冲程接近尾声时,在高压油泵的作用下,柴油以10MPa左右的高压通过喷油器喷入气缸燃烧室。它在短时间内与空气混合星空体育app下载入口,立即自燃燃烧。气缸内气体压力迅速上升,最高达到5000~9000kPa,最高温度达到1800~2000K。由于柴油机通过压缩自行点火燃烧,故称为压燃式发动机。
排气冲程:柴油机的排气与汽油机基本相同,只是排气温度比汽油机低。一般Tr=700~900K。对于单缸发动机来说,其转速不均匀,发动机运转不稳定,振动较大。这是因为四种冲程中只有一种进行工作,而其他三种冲程则消耗能量以准备做功。为了解决这个问题,飞轮必须有足够大的转动惯量,这又导致整个发动机的质量和尺寸增加。采用多缸发动机可以弥补上述缺点。现代汽车大多采用四缸、六缸和八缸发动机。

进气系统及润滑
发动机运转时,驾驶员通过油门踏板控制节气门的开度,以改变进气量,控制发动机的运转。进入发动机的空气经空气滤清器滤除灰尘等杂质后,流经空气流量计,沿节气门通道进入动力室,然后通过进气歧管分配到各个气缸;当发动机冷态怠速时,一部分空气绕过节气门,通过附加空气阀或怠速控制阀进入气缸。
润滑系统的作用是在发动机工作时,不断地将足量、清洁、温度适宜的机油输送到各传动部件的摩擦表面,并在摩擦表面之间形成油膜,实现液体摩擦,从而减少摩擦。减少摩擦阻力,降低动力消耗,减少零件磨损,提高发动机的可靠性和耐用性。润滑方式有压力润滑、飞溅润滑和脂润滑三种。
火花塞
汽油发动机点火系统的一个组件,将高压电流引入气缸以产生电火花以点燃可燃混合物。主要由接线螺母、绝缘体、接线螺钉、中心电极、侧电极和外壳等组成。侧电极焊接在壳体上。
工作原理:
火花塞的电板通过反复、连续的发电和点火来点燃气缸内的混合气。此时,点火系统的其他部分及时产生高压电脉冲,形成火花并产生爆炸,提供发动机动力输出所需的能量。
火花塞的结构是由细长的金属电极板穿过绝缘陶瓷材料制成。绝缘体下部周围有一个金属壳,用螺钉固定在气缸盖上。在这个金属壳的底部焊接有电极,与车体形成接地作用。此外,电极的中心端必须被微小的放电间隙隔开。
然后,来自分配器的高压电流通过中心电极导电,然后在底部的放电间隙中放电。这时,火花塞就会发挥作用,产生火花来燃烧混合气,发动机就会获得能量并输出动力。
可见,火花塞是点燃进入发动机的汽油和空气的混合气体进行燃烧的装置。它在高温、高压的恶劣条件下工作。是汽油机的易损件之一。它在发动机的运行中起着相当大的作用。重要的作用与汽车是否省油、行驶是否平稳有很大关系。

正时皮带
正时皮带是发动机配气系统的重要组成部分。它与曲轴相连,并配合一定的传动比,保证进排气时间的准确性。之所以用皮带代替齿轮进行传动星空体育平台官网入口,是因为皮带噪音低、传动精确、自身变化小、易于补偿。显然,皮带的寿命肯定比金属齿轮短,因此应定期更换皮带。
正时皮带的作用是在发动机运转时,活塞的行程(上下运动)、气门的开闭(时间)、点火的顺序(时间),在“定时”,它必须始终是“同步”操作。

燃油喷射
燃油喷射系统是指利用喷油器在一定压力下将一定量的燃油直接喷射到气缸或进气道内的燃油供给装置。按喷射燃料类型可分为汽油喷射系统、柴油喷射系统、气体燃料喷射系统等。按控制方式不同可分为机械控制式、电子控制式和机电混合式控制类型。

冷却系统
在所有工作条件下使发动机保持在适当的温度范围内。冷却系统不仅要防止发动机过热,还要防止发动机在冬季过冷。
冷却系统根据冷却介质不同可分为风冷和水冷。如果将发动机内高温部件的热量直接散发到大气中进行冷却,则称为风冷系统。首先将这种热量传递给冷却水,然后散发到大气中进行冷却的装置称为水冷系统。由于水冷系统冷却均匀、效果好、发动机运转噪音低,目前水冷系统在汽车发动机上得到广泛应用。

排气系统
排气系统是指收集和排出废气的系统,包括排气歧管、排气管、消声器、尾管和共鸣器等。

绿色蒸汽机
绿色蒸汽机是利用蒸汽机将燃料(通常是煤)的化学能转化为热能,进而转化为机械能使机车运转的蒸汽机。格林蒸汽机最具革命性的改进是将传统发动机的往复运动转变为旋转运动,从而大大简化了活塞发动机。该发动机的全尺寸版本仅重 5 磅(减去飞轮),能够产生足够的动力来为船只或发电机提供动力。

列车推进原理

如何将两轮驱动汽车改装为四轮驱动汽车?
齿轮传动的基本目的是改变转向;我小时候玩的四轮驱动车总成里有一根长杆,两端都有齿轮。如果车上安装了长杆,两轮驱动就变成了四轮驱动。当然,四轮驱动汽车是简单的正齿轮,汽车图片中的是斜齿轮,相对复杂。

为什么四轮驱动车的前轮可以转动?
图为球笼式万向节,是目前应用广泛的等速万向节。万向节工作过程中,传力点始终位于两轴交角的平分线上。无论传递力如何变化,六个钢球都是同时产生力的,所以这也是恒速原理。

当你踩下离合器时会发生什么?

汽车倒车
倒档采用的行星齿轮传动装置因其外观更像太阳系中的行星而得名。汽车的倒车功能就是根据这个原理实现的。
公交车上的天窗

最早的离合器
鲁ICP备18019460号-4
我要评论